
______
______________ | |_____
| TOP <|---- Green Jumper
| |
| |
| Heat sink |
| | |
|
/
figure 1
CAUTION: ______ ^
__| |________|________________
| Display side |
| X ...... | X = Screw
| X ...... |
| - ----| |
| .............. | <---------- ADD Jumper
. |
Pin #3 :____________|
:
figure 2
Figure 2
rear of radio
------------------------------------------------------
! !
! !
! o !
! o !
! o !
! o !
! o o !
! o o !
! o o !
! o o !
! o o !
! __add__________Xo !
! i o !
! i o !
! i !
! i ooooooooooooooooooooooooooooooo !
! i !
! -------i !
! i !
! Xo@o !
! !
! ooooooooooooooo !
! oooooooooooooooooooo !
_____________________________________________________
mic plug (radio bottom)
(Jumper wire from X to X)


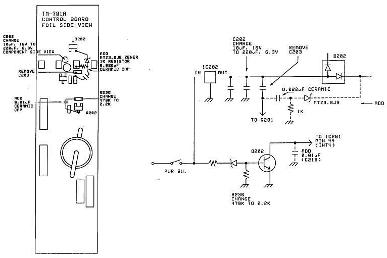
Some TM-231A owners have reported that the transceiver intermittently loses its memory channel information at power on. The following modification will absorb pulses on the CPU interrupt line (INT4) and reconfigure the backup switching circuit to avoid unintentional memory loss.
This modification should be performed on a Dealer level as they have the correct tools to disassemble the transceiver.
Required parts:
220 µF, 6.3 V Electrolytic capacitor CE04NW0J221M 0.01 µF ceramic capacitor CK45B1H103K 0.022 µF ceramic capacitor C91-0475-05 2.2 Kohm chip resistor RK73FB2A222J 1 Kohm carbon resistor RD14BB2C102J 3.0 V Zener diode MTZ3.0JB

This modification may be covered under warranty.
Time required to perform
the modification is 1 hour or less.