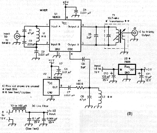
Six Meter Converter


From the article "Junk-Box Converters for 6 and 2 Meters",
by Rod Kreuter, WA3ENK, QST, January 1997, Page 33.

Far Circuits has a printed circuit board for this project.
Check out the following URL: http://www.farcircuits.net/convert2.htm#2convert

Return to Frequency Coverage || Six and Two Meters || Send E-Mail


Last Update: 7/14/08
Web Author: David White, WN5Y